Опис
Подвійний хомут 40х1" серія 1027 для поліетиленових труб UNIDELTA використовується для відводу від основної магістралі водопостачання. Конструкція забезпечує герметичність в системах водопостачання під тиском.
Затискний фітинг подвійний хомут з металевим кільцем для поліетиленових труб ø 40х1" застосовується спільно з поліетиленовими пластиковими трубами Valrom.
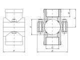
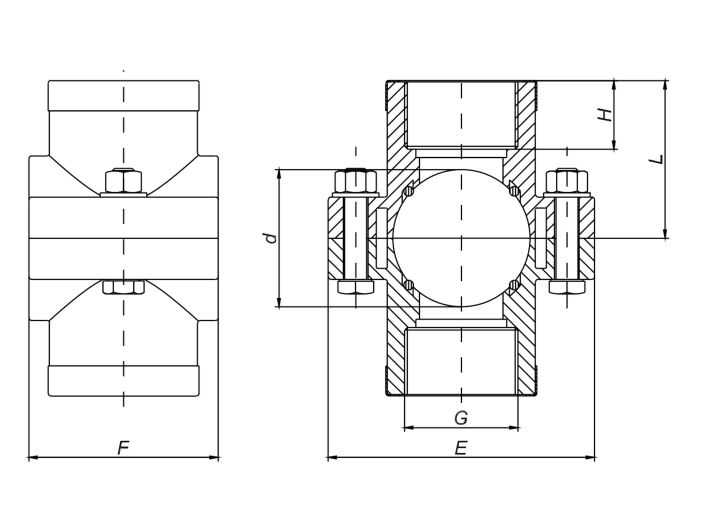
При монтажі розріз труби не потрібно. Хомут врізний подвійний ø 40х1 Унідельта складається з двох частин з відводами, оперізують трубу. Для монтажу вузла трубопроводу (кульовий кран, трійник, муфта) необхідно зробити врізку в одну або в обидві складові частини. Хомути Унідельта витримують номінальний тиск до 10 атмосфер, стійкі до ультрафіолетових променів завдяки поліпропілену з УФ-фільтром, з якого вони виготовлені.
Хомут для поліетиленових труб Unidelta ø 40 мм з різьбою армований. Внутрішня різьба 1". Кінець різьби посилений кільцем з нержавіючої сталі
Насосвдом пропонує широкий асортимент одинарних і подвійних обтискних хомутів для труб діаметром від 25 до 200 мм.
Технічні характеристики
- Діаметр: 40 мм
- Внутрішня різьба 1"
- Максимальний тиск: 10 бар
- Артикул 1027
Детальніше
- Виробник
- UNIDELTA
- Діаметр
- DN 40 (1 1/2")
- Вид
- хомут





